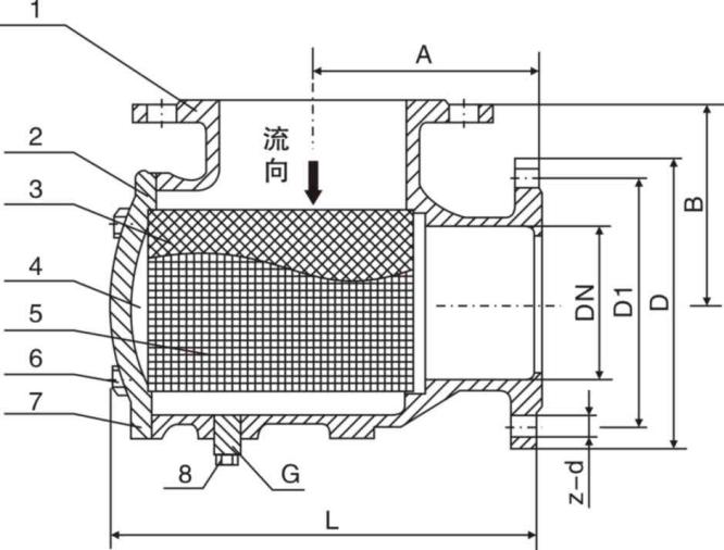
水泵擴散過濾器(入口導流閥)
產品介紹
型號介紹
擴散過濾器簡介:
擴散過濾器是一種新型的過濾器,安裝在水泵的入口,除了具有過濾雜質的功能以外,還具有穩定水流,防止氣穴,提高水泵效率,延長水泵壽命的功能。吸入口擴散過濾器自身可擴散流向,降低管道內的流速,在流動過程中又可適當的降低流速,也可通過內部 導向板使流體分散并均勻的分布流速,保障了泵的長期穩定的運轉。
擴散過濾器作用:
多功能擴散過濾器安裝在泵的入口處,起到導流作用,能夠為泵提供平衡的水流,保護泵的葉片,具有穩定 水流,提高水泵效率,延長水泵壽命的功能。擴散式過濾器采用過濾面積大的不銹鋼過濾網,減小了壓力損失與阻力,擴散過濾器適用于各種安裝條 件,也可水平或垂直安裝,縮小了安裝空間,并減少了施工費用,具有取代90度彎頭、變徑管、其它過濾 器及整流管的功能。
擴散過濾器特點:
擴散過濾器濾網,濾罩和整流板可拆換,易于清洗。 擴散過濾器內外均為粉體環氧樹脂涂裝,可避免生銹而影響水質。 各式標準管徑及支撐凸臺設計。 壓力表凸臺接口,籍由壓差大小可判定是否過多垃圾堆于濾網外部。
1、面積大的沖孔過濾網,故內部壓降小。
2、閥門內部采用特殊導向板,產生穩流,從而保護泵葉(防止產生氣鎖現象)。
3、閥體上可安裝壓力表,不用另裝。
4、根據需要可配置雙過濾器,可交替使用。
5、根據現場要求,可用支架來方便調節擴散過濾器的高度。
6、根據需求內部可安裝磁鐵來過濾鐵粉,從而保護泵。
7、閥體上設有排泄塞,不需格外安裝排污管道。
8、比傳統的安裝方式節省很多空間和管道材料。
9、本體內外均為粉體環氧樹脂涂裝,可避免生銹而影響水質。
10、壓力表凸臺接口,即由壓差大小可判定是否過多垃圾堆于濾網外部。
參數:
安裝示意圖




